Straightening The tube is straightened by a series of rollers.
Orbital Cutter The tube is pre-scored by an orbital cutting device
Flow Drill Pierce and flow drill.
Endforming Two different end-forming modules are available. Heavy: up to 6 rams or 4 rams and 1 revolving pass, Light: up to 3 rams or 1 ram and 1 revolving pass.
Bending Produce fixed radius bends in the plane and variable radius bends freeform, which can be integrated according to the development of the design, all in-process and in automatic sequence.
Disc Cutting Cutting can be performed using orbital or saw cutting devices.
Unloading The automatic unloading device is fully-integrated into the work cycle and managed by the CNC.
Compression and draw bending
End-forming module
Cutting and piercing
Compression and draw bending
For the best flexibility and productivity, the 4-RUNNER H3 blends compression and draw bending technologies to combine bending speed with the possibility of making short distances between bends and/or between bends and formed ends.
Right-handed and left-handed bends in multi-radius mode
It makes 3D coils or coils with more than one bending radius and parts with extremely complicated geometry. The low-profile geometry of the 4-RUNNER H1 bending head makes it possible to bend left- and right-handed in-process and multi-radius mode.
Variable radius
Reduce cycle time and create wider, more sophisticated curves with any center line radius. Variable radius bending offers many advantages, an all-electric system managed by VGP3D is the most precise way to perform it.
Tool change
Quick-change tooling. Set-up is automatic and there is no manual adjustment required.
Heavy end-forming module
End-forming module with six rams or with four rams and one revolving pass.
Light end-forming module
End-forming module with three rams or with one ram and one revolving pass.
Inner orbital cutter
Combining speed and chip-free results. Inner orbital cutting pre-scores the tube before the bending process. Simply snap of the processed part.
Outer orbital cutter
Maximize versatility by equipping 4-RUNNER with the external orbital cutter. Ideal when the last straight stretch is very short or the cut is close to the end-forming.
Saw cutter
Cut in a fast and versatile way with the saw cutting system managed by a dedicated electric axis.
Piercing and flow drilling
You can pierce and thread in-line, saving time and with greater precision. The piercing system can be equipped with helical or flow drills.
Choose the safety for your job
4-RUNNERis CE certified and designed with safety features to protect the operator during machine operation preventing the operator coming into contact with the moving parts of the machine or reel.
You decide where to start
Choose the coil feeder that best suits your production or space requirements: vertical, horizontal or Jumbo. The tube advancement and recovery is performed in-process and the motor is controlled in both directions. The feeder may be used in idle mode by selecting the function on the VGP3D program which is fully integrated with the machine software.
Technical specifications 4-RUNNER
4-RUNNER H1
4-RUNNER H3
Maximum workable diameter
Aluminum
.50" x .04" (12.7 mm x 1.1 mm)
.87" x .06" (22.0 mm x 1.6 mm)
Copper
.50" x .04" (12.7 mm x 1 mm)
.87" x .05" (22.0 mm x 1.2 mm)
Mild steel (R = 52 ksi, 360 N/mm²)
.40" x .04" (10 mm x 1 mm)
.55" x .04" (14 mm x 1 mm)
Stainless steel
.40" x .03" (10 mm x 0.8 mm)
.47" x .04" (12 mm x 1 mm)
Machine features
Axes
up to 11
up to 11
X accuracy
±.002" (0.05 mm)
±.002" (0.05 mm)
Y accuracy
± 0.05°
± 0.05°
Z accuracy
± 0.05°
± 0.05°
Bar passage
.55" (14 mm)
.89" (22.7 mm)
Max. installed power
10.5 kW
(14.5 kW with end-forming module)
10.5 kW
(14.5 kW with end-forming module)
Average drawn power
3 kW
4 kW
Machine weight without end-forming module
5512 lb (2500 kg)
5512 lb (2500 kg)
Light end-forming module weight
2646 lb (1200 kg)
Heavy end-forming module weight
2976 lb (1350 kg)
2976 lb (1350 kg)
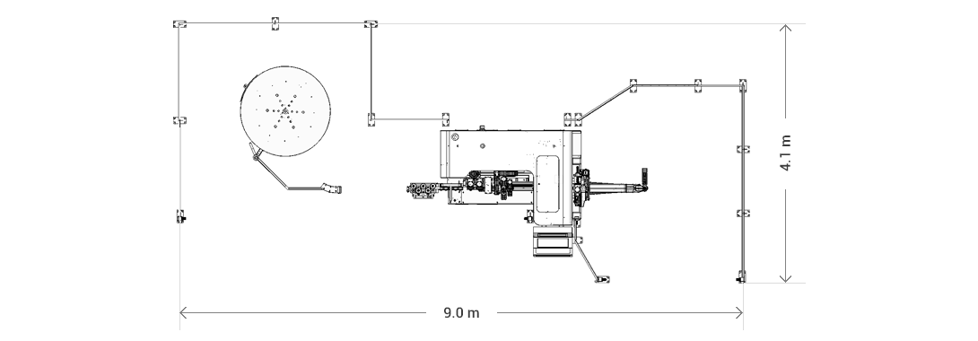
4-RUNNER H1 Basic machine layout
4-RUNNER H1 Basic machine layout with shaping module
4-RUNNER H3 Basic machine layout.
4-RUNNER H3 Basic machine layout with shaping module.